
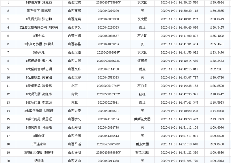
本站讯 11月1日,山西弘辉公棚500公里决赛于今晨7:19分在乌兰察布市白音查干北班家村开笼放飞,截至目前,决赛上笼4450羽参赛鸽,实际归巢494羽。据了解,本次比赛放飞地气温低至零下3度,沿途伴有4-5级西北风,再加上归巢地有吕梁山脉阻隔,无疑给赛鸽归巢带来了巨大的困难。正因如此,今天山西弘辉公棚500公里决赛,用艰苦而惨烈的比拼,不仅诠释了赛鸽真谛,更重要的是造就出了494羽超级赛鸽!
山西弘辉公棚决赛把工薪价位的比赛办成了顶尖赛事的水平,让胜利者无比自豪,让失败者心生敬佩!这是弘辉公棚的成功,更是所有参赛者的骄傲。董事长宋泽全接受采访时说:“我办公棚的初衷就是要打出中国鸽友的精气神,赛出中国鸽子的高精尖!”正是有了这样的办赛精神,才越来越让弘辉公棚的比赛变得极具挑战性和公信力。

鸽友评论
请勿提交非法信息和广告,违反者封禁账号,谢谢合作~